Hướng dẫn cách đấu chuông báo cháy chi tiết nhất

đấu nối chuông báo cháy

Nếu bạn đang tìm cách đấu nối chuông báo cháy. Ngày đêm hôm nay sẽ giúp bạn giải quyết câu hỏi này.

Contents

I. Chuông báo cháy là gì?

Hướng dấn cách đấu nối chuông báo cháy

Chuông báo cháy là thiết bị báo cháy đầu vào trong hệ thống phòng cháy chữa cháy. Múc đích thông báo với mọi người rằng có sự cố cháy và đưa ra các phương pháp một cách nhanh nhất, làm giảm thiệt hại về tài sản cũng như đảm bảo tính mạng con người.

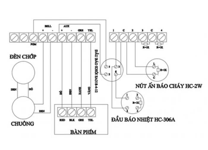
II. Cách đấu chuông báo cháy chuẩn

Bước 1: Đấu dây vào đế đầu báo

Cần đấu dây đúng cực tính của đế đầu báo và điện trở cuối đường dây ở đế đầu báo cuối cùng trên kênh. Trên đế đầu báo có các chân 1, 2 và 5, 6. Trong đó chân đến là 1 và 6 còn chân đi là 2 và 5. Việc đấu nối này giúp người giám sát dễ dàng biết được trạng thái hoạt động của đầu báo.

Cách đấu nối chuông báo cháy trong hệ thống báo cháy

Nếu hệ thống xảy ra lỗi thì chúng sẽ nhanh chóng phát ra cảnh báo để người giám sát kịp thời xử lý. Giả như đấu chập 2 dây trên cùng 1 điểm sẽ làm hệ thống không kiểm soát được.

Bước 2: Kết nối đế đầu báo với nút báo cháy bằng tay

Sau khi đã hoàn thiện đấu xong đế đầu báo. Tiếp tục đầu báo nối đầu báo với trung tâm báo cháy. Lưu ý là nối dây đúng cực tính và kết nối với kệnh số 1.

Cách đấu nối dây chuông báo cháy hệ thống báo cháy

Chúng ta cũng tiến hành đấu tương tự với nút ấn báo cháy bằng tay. Đấu điện trở cuối đầu dây và xoắn điện trở 2 đầu dây. Riêng đối với nút nhấn báo cháy bằng tay có thể đấu chung với kênh đầu báo hoặc trên một kênh riêng biệt đều được.

Đấu tương tự các kênh tiếp theo như kênh số 1.

Bước 3: Lắp đầu báo vào đế đầu báo

Cách đấu nối dây chuông báo cháy

Nếu để ý các bạn sẽ thấy trên thân đầu báo và đế đầu báo có 1 gạch nhỏ. Khi lắp đặt các bạn nên để 2 gạch này nối với nhau tạo nên một đường thẳng.

Bước 4: Kết nối chuông báo cháy và đèn vào trung tâm báo cháy

Khi đấu chuông báo cháy cần phải phân cực cho chuông bởi chuông được thiết kế không phân cực. Để phân cực, chúng ta sẽ tiến hành lắp thêm một cái diot và lắp điện trở cuối đường dây cho đường chuông. Dây chuông có phân cực âm và dương.

Bước 5: Kết nối nguồn điện 220AC và nguồn điện dự phòng 24 VDC vào trung tâm điều khiển

Cách đấu nối dây chuông báo cháy

Trước khi kết nối với nguồn điện phải kiểm tra lại một lần nữa để đảm bảo các dây đã được kết nối đúng.

Khi kết nối nguồn điện cần phải cấp nguồn 220 AC trước khi cấp nguồn acquy dự phòng. Nếu không sẽ dẫn đến sốc nhiệt và làm hỏng trung tâm điều khiển của hệ thống báo cháy.

Cách đấu chuông báo cháy không quá khó, chỉ cần bạn làm theo đúng các bước mà chúng tôi hướng dẫn sẽ đảm bảo hiệu quả.

III. Nên mua chuông báo cháy ở đâu uy tín, chính hãng?

Nếu bạn đang tìm đơn vị bán chuông báo cháy đảm bảo chất lượng với giá thành hợp lý. Công Ty CPPT Công Nghệ Ngày Đêm đơn vị hàng đầu trong lĩnh vực phòng cháy chữa cháy. Sau đây là những lý do bạn nên chọn đơn vị này.

Công Ty CPPT Công Nghệ Ngày Đêm

  • Ngày đêm đã hoạt động với nhiều năm kinh nghiệm trong lĩnh vực phòng cháy chữa cháy.
  • Với đội ngũ kỹ thuật trên 150 người có bằng cấp, chứng chỉ, tay nghề cao. Kinh nghiệm trên 3 năm làm trong lĩnh vực PCCC.
  • Hệ thống khắp các tỉnh thành nên bạn sẽ được hỗ trợ một cách nhanh nhất.
  • Tính tới thời điểm hiện tại, chúng tôi có trên 5000 khách hàng đang tin tưởng và sử dụng về các dịch vụ phòng cháy chữa cháy.

Những cam kết của Ngày Đêm đối với khách hàng

  • Cam kết sản phẩm đảm bảo 100% chính hãng. Nếu như bạn phát hiện hàng giả, hành nhái chúng tôi sẽ hoàn tiền 200% cho bạn.
  • Chuông báo cháy được bảo hành 1 năm, lỗi được đổi trả miễn phí (lỗi từ phía Nhà sản xuất).

Báo giá chuông báo cháy với giá ưu đãi nhất

Cảm ơn các bạn đã đọc bài viết, mong bài viết này sẽ giúp bạn hiểu hơn về cách đấu chuông báo cháy (đấu nối chuông báo cháy). Nếu bạn có thắc mắc hay muốn mua các thiết bị pccc. Hãy liên hệ với Ngày Đêm để được tư vấn chi tiết nhất đặc biệt hoàn toàn miễn phí.

CÔNG TY CỔ PHẦN PHÁT TRIỂN CÔNG NGHỆ NGÀY ĐÊM

– Hệ thống chi nhánh: Toàn Quốc

– Hotline: MB – 091.929.7766 || MN – 0981.547.680 || MT – 0906.276.387

– Website: https://pcccngaydem.vn/

– Fanpage: https://www.facebook.com/ngaydem.com.vn